Domov / Produkty / Merač energie / Merač striedavého prúdu / AC jednofázový elektromer s priamym prístupom na DIN lištu RS485

AC jednofázový elektromer s priamym prístupom na DIN lištu RS485

AC jednofázové meranie

Priamy vstupný prúd 80A

Certifikované CE-MID

Trieda vysokej presnosti 1

Inštalácia na DIN lištu

Komunikácia RS485

Aplikácia: IoT Energy Management, Factory, School

+86-18702106858 / +86-21-69156352

[email protected]

  • Popíšte
  • Jednofázový elektromer ADL200 je kompaktný a vysoko presný elektromer určený pre nízkonapäťové systémy. Meria jednofázovú aktívnu energiu a rôzne elektrické parametre, ako je napätie, prúd, výkon a účinník. S 8-bitovým LCD displejom ponúka jasné údaje o aktívnej energii v kladnej aj zápornej hodnote kWh. Merač je vybavený komunikačným rozhraním RS485 s protokolom MODBUS-RTU, vďaka čomu je ideálny pre integráciu do platforiem internetu vecí a systémov energetického manažmentu. Certifikovaný podľa noriem IEC62053-21 a IEC62053-22 zaisťuje spoľahlivý výkon a presnosť. Jeho inštalácia na DIN lištu a malé rozmery uľahčujú jeho nasadenie v rôznych aplikáciách.

  • Špecifikácie
  • Technické parametre Hodnota
    Vstupné napätie Referenčné napätie AC 220V
    Referenčná frekvencia 50 Hz
    Spotreba energie <10VA
    Vstupný prúd Základný prúd 10A
    Maximálny prúd 80A
    Počiatočný prúd 4‰ lb
    Spotreba <4VA
    Meranie výkonu Presnosť merania 1 trieda
    Rozsah merania 000000,00 – 999999,99 kWh
    Presnosť hodín Chyba ≤0,5 s/d
    Výstup Šírka impulzu 80 ± 20 ms
    Konštantný pulz 1000 imp/kWh
    Automatické opätovné zatváranie brzdy Rozhranie RS485 (A B-)
    Režim pripojenia Shiel
    ded Twisted Pair vodiče
    Protokol Modbus-RTU
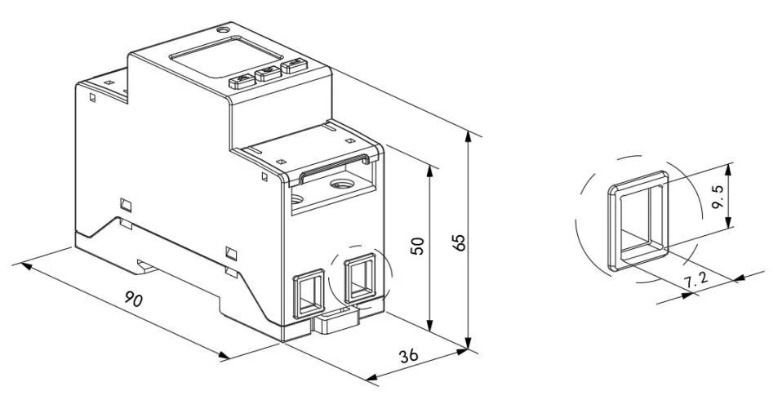
    L*W*V 90*36*65mm
    Silný prúdový krútiaci moment koncovky < 1,8 Nm $ $

  • Schéma rozmerov a zapojenia

  • Aplikačný scenár
  • Riadenie energetickej účinnosti

    Riešenie IoT EMS

  • Aplikácia na pracovisku
O spoločnosti Acrel
"Optimalizovaná energetická účinnosť, posilnenie zelenej budúcnosti."

Spoločnosť Acrel Co., Ltd., založená v roku 2003【Kód akcií: 300286.SZ】, je high-tech podnik špecializujúci sa na riešenia energetického manažmentu a elektrickú bezpečnosť. Spoločnosť Acrel so sídlom v Šanghaji ponúka inovatívne a udržateľné riešenia pre energetickú účinnosť mikrosietí a elektrickú bezpečnosť. S viac ako 600 patentmi a autorskými právami na softvér spoločnosť Acrel celosvetovo nasadila viac ako 28 000 systémových riešení, čím vytvorila komplexnú energetickú internetovú architektúru „na konci cloudu“.

Acrel Co., Ltd. is China Wholesale AC jednofázový elektromer s priamym prístupom na DIN lištu RS485 Manufacturers and AC jednofázový elektromer s priamym prístupom na DIN lištu RS485 Factory. Acrel's integrated product ecosystem spans from cloud platform software to end-user components, covering sectors such as power, renewable energy, data centers, smart buildings, transportation, and smart cities. These solutions enable intelligent, real-time energy management, enhancing energy security and reducing operational costs. We offer AC jednofázový elektromer s priamym prístupom na DIN lištu RS485 for sale.

Výrobné zariadenie spoločnosti, Jiangsu Acrel Electric Manufacturing Co., Ltd., dodržiava prísne normy kvality a environmentálne smernice s pokročilými testovacími centrami a záväzkom k výrobným procesom bez olova. Tím viac ako 500 inžinierov spoločnosti Acrel dodáva špičkové systémy energetickej účinnosti a inteligentné energetické riešenia.

So silnou domácou prítomnosťou spoločnosť Acrel aktívne expanduje do zahraničia, pričom ju podporuje globálna sieť predajných a technických tímov a platforma elektronického obchodu, ktorá zabezpečuje bezproblémové služby na celom svete. Acrel je hrdý na to, že pomáha podnikom zlepšovať efektivitu, znižovať spotrebu a dosahovať ciele udržateľnosti.

Spoločne budujeme inteligentnejšiu a zelenšiu budúcnosť.

  • Autorizované patenty

    0+
  • Počet obsluhovaných zákazníkov

    0+
  • Celkový počet zamestnancov

    0+
  • Výrobná základňa

    0
Podniková certifikácia

Posilnenie podnikov našimi robustnými schopnosťami.

  • IEC
  • CE-MID
  • UL
  • RoHS
Správy
  • Moderné elektrické prostredie je zložitá tapiséria vzájomne prepojených energetických systémov, najmä striedavého prúdu (AC) na výrobu, prenos a distribúciu. Nárast obnoviteľnej energie, skladovania energie, elektrických vozidiel a priemyselných procesov však posunul systémy jednosmerného prúdu (...

    Read More
  • Modernéá elektrická sieť je majstrovským dielom inžinierstva, rozľahlá a prepojená sieť navrhnutá tak, aby dodávala energiu z výrobných zdrojov koncovým používateľom s pozoruhodnou spoľahlivosťou. V srdci tohto systému ležia vysokonapäťové prenosové vedenia, svalové tepny, ktoré prenášajú obrovsk...

    Read More
  • V oblasti elektrickej údržby, energetického manažmentu a spoľahlivosti systému zohráva úlohu analyzátor kvality energie je nevyhnutné. Tieto zariadenia sú už dlho základným kameňom diagnostiky širokého spektra elektrických problémov, od jednoduchých výkyvov napätia až po zložité prechodné ...

    Read More
Acrel Co., Ltd.